L'Automobile Magazine : toute l'actu, essais et nouveautés
www.automobile-magazine.fr
Sport
Toyota AE86 : la légende du manga Initial D renaît en neuf, et elle devient encore plus radicale

Sport
Pour Gemini, vous êtes en train de conduire en plein milieu de l'océan

Sport
Info L'Automobile Magaine - Consommations élevées pour la Renault Clio E-Tech 160 : ça traîne pour le rappel !

Sport
Nouvelle Classe C électrique : Mercedes persiste avec l’écran géant, malgré les critiques

Sport
La division électrique de Ford disparaît, et avec elle l’homme clé venu de Tesla

Sport
Toutes les voitures du monde : "Il y a 10 ans, les marques chinoises occupaient à peine 5 pages avec 39 marques recensées. Aujourd’hui, c’est 71 marques et 37 pages"

Sport
Poissy : l’usine historique de Stellantis arrête les voitures, la réalité industrielle rattrape les rumeurs de stade

Sport
Ce moteur thermique qui consomme seulement 3,3 l/100 km roule déjà dans un Duster

Sport
Carburant : "Plein de gens se font du fric sur le dos des consommateurs et on ne peut pas les taper"

Sport
Recharges gratuites à vie, mais risque de poursuite en cas de vente : Tesla dévoile une édition finale de ses Model S et X, mais avec des conditions contraignantes

Sport
Des chercheurs ont trouvé comment fiabiliser les voitures électriques : en supprimant l’une de leurs batteries

Sport
Un immense parking de BYD prend feu en Chine : la vidéo de l’incendie spectaculaire

Sport
Voilà à quoi pourrait ressembler les commandes de climatisation dans Android Auto

Sport
Pour tenter de redresser sa situation, Nissan va se concentrer sur l’essentiel : moins de modèles et priorité à certains marchés

Sport
Quand une Fiat disparue se vend mieux en 2026 qu'une Fiat encore au catalogue

Sport
Les constructeurs chinois ne veulent pas se contenter de vendre des voitures, ils recrutent directement chez leurs rivaux

Sport
Pourquoi l’Alpine A110 utilise un moteur fabriqué à l'autre bout du monde alors qu'elle est faite en France ?

Sport
Google Maps veut vous faire contribuer et écrire des avis plus vite

Sport
BYD passe un accord avec KFC, mais attention : pourrez-vous manger aussi vite que votre voiture recharge ?

Sport
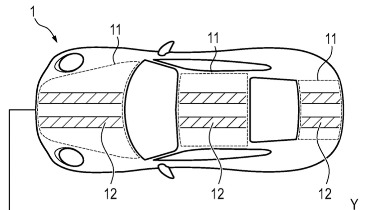
Une décoration à la demande sur la carrosserie : à l’avenir, cela pourrait devenir possible, Porsche vient d’en déposer le brevet

Sport
La Renault Twingo entre parmi les meilleures "ventes" de voitures électriques avant de débuter ses livraisons !

Sport
Gare au flash pour excès de vitesse avec ce nouveau radar non signalé installé sur une départementale limitée à 50 km/h

Sport
Dans l’une de ses usines, Volkswagen délaisse l’électrique et arrête la production d’ID.4 pour produire plus de SUV thermiques

Sport
Citroën célèbre les 50 ans de la 2CV Spot, la toute première série limitée de la marque

Sport
Kia officialise la future EV1, la rivale de la R5 électrique, et dévoile ses plans pour 2030

Sport
L'Etat prend une mesure tardive contre les pénuries de carburant

Sport
Concerts de Céline Dion à Paris : voici quels parkings pas chers choisir pour garer sa voiture à côté

Sport
C'est historique, le marché de la voiture allemande bascule : l’électrique dépasse l’essence pour la première fois

Sport
Des voitures détruites plus tôt, un parc qui vieillit toujours : le paradoxe de la prime à la conversion

Sport
A Paris, la voiture n’a plus du tout la cote : 18 000 véhicules de moins chaque année depuis 10 ans !

Sport
Un nouveau modèle toutes les deux semaines : pourquoi Volkswagen joue gros en Chine

Sport
"L'Etat se rend complice d'une escroquerie" : les acheteurs d'une petite marque de voiture française disparue expriment leur ras-le-bol contre l'administration

Sport
Honda aurait trouvé une idée commerciale de génie : réparer les routes en transformant le sable du désert en asphalte bon marché

Sport
Bidons d’essence dans le coffre : ce que vous avez le droit de faire (et pas vraiment)

Sport
Travailler tout en conduisant : CarPlay a une solution

Sport
Pénurie d’essence : les cartes à consulter pour éviter les stations à sec
Sport
Pénurie d’essence : les cartes à consulter pour éviter les stations à sec

Sport
Ces crédits CO₂ que Stellantis s’achète désormais… à lui-même

Sport
Tesla : percuter un obstacle n’empêche plus une technologie d’être validée

Sport
Une première historique pour Honda en Europe, en Afrique et au Moyen-Orient

Sport
Carburant : le prix d’un litre de gazole à 3€ en France, on y va tout droit !

Sport
Le moteur à 5 cylindres Audi s’arrêtera en Europe mais poursuivra sa route sur d’autres continents

Sport
Elle ressemble à la nouvelle Jetta mais coûte deux fois moins cher et est plus moderne : voici la Volkswagen Sagitar S

Sport
La dernière mise à jour de Google Maps va tout changer pour les trajets en voiture électrique

Sport
Youtube débarque officiellement sur Android Auto mais pas exactement comme prévu

Sport
Citroën offre jusqu'à 6 000 € pour l’achat d’un véhicule neuf

Sport
Circulation : où serez-vous en difficulté sur la route pour le week-end de Pâques ?

Sport
Comment continuer de vendre des voitures thermiques quand le prix du carburant explose ? Ford a trouvé la solution

Sport

